Με λέιζερ θα καθαρίζουν τα παρμπρίζ των Tesla

Με λέιζερ θα καθαρίζουν τα παρμπρίζ των Tesla
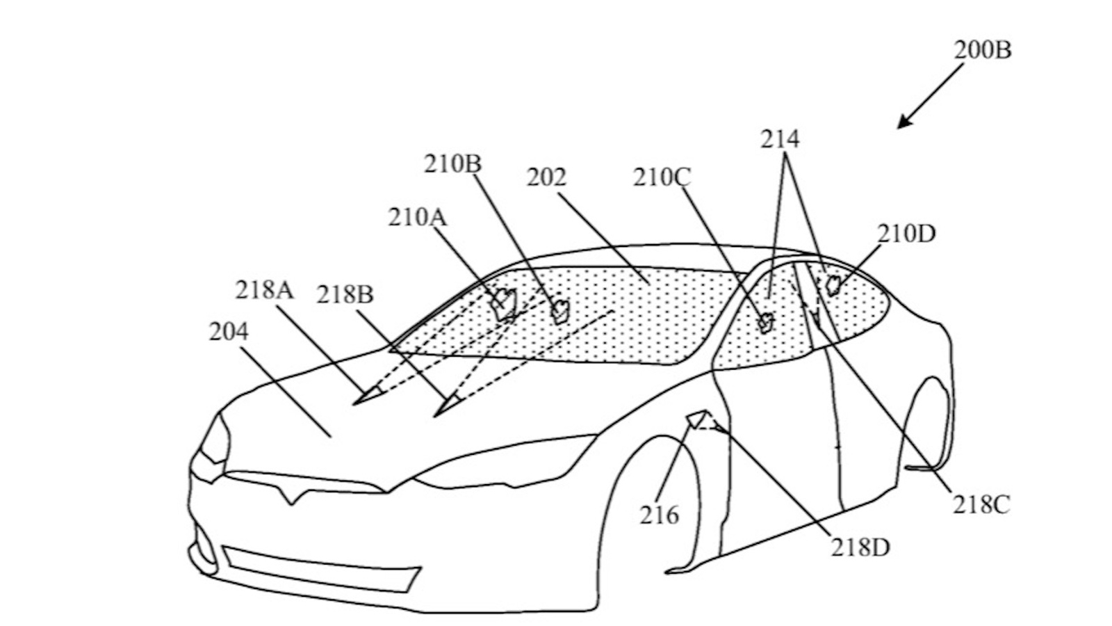
To laser θα εντοπίζει τις επικαθίσεις και θα εκπέμπει μια δέσμη που θα τις απομακρύνει

To laser θα εντοπίζει τις επικαθίσεις και θα εκπέμπει μια δέσμη που θα τις απομακρύνει

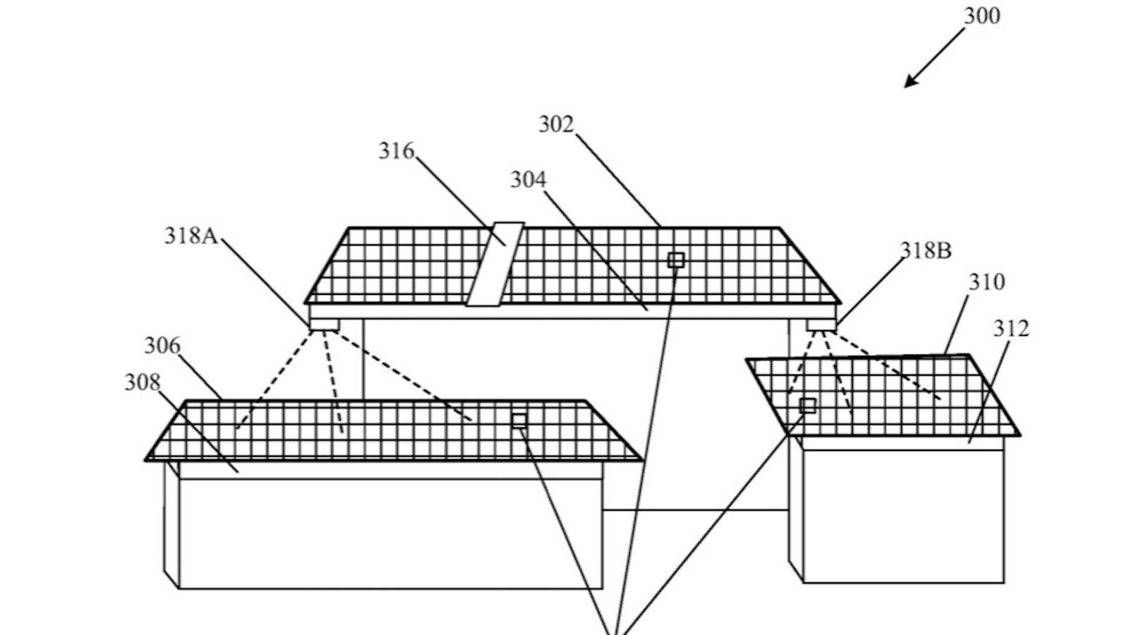
Η τεχνολογία μπορεί και να χρησιμοποιηθεί και για τον καθαρισμό φωτοβολταικων στοιχείων

Η τεχνολογία μπορεί και να χρησιμοποιηθεί και για τον καθαρισμό φωτοβολταικων στοιχείων