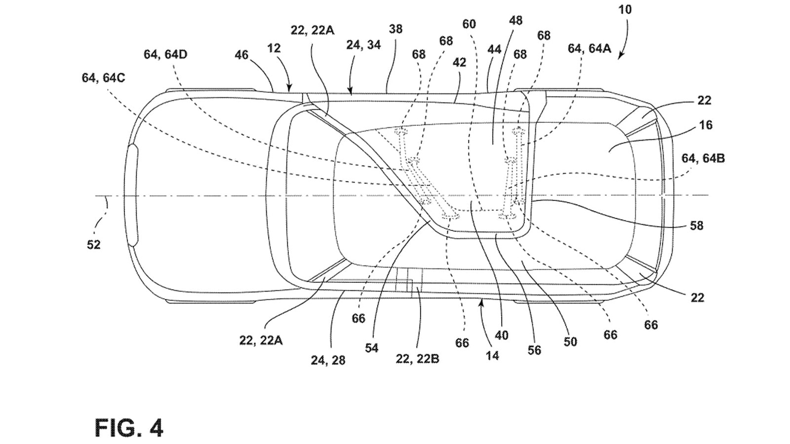
Ford: Πατέντα δείχνει SUV με τεράστια πόρτα που ανοίγει προς τα πάνω

Ford: Πατέντα δείχνει SUV με τεράστια πόρτα που ανοίγει προς τα πάνω