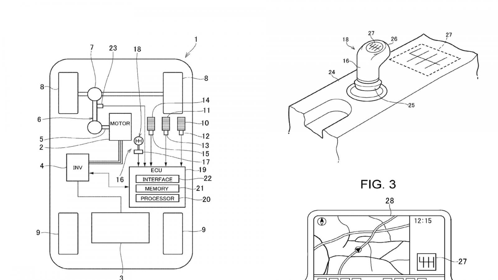
Το χειροκίνητο κιβώτιο για ηλεκτρικά της Toyota ίσως έχει 14 ταχύτητες