Golf με 1.000+ ίππους (+vid) 05/10/2017 Μπορεί βλέποντάς το συγκεκριμένο Volkswagen Golf, να μην σου γεμίζει το μάτι όμως αυτό το αυτοκίνητο έχει περισσότερη ισχύ από πολλά σημερινά supercars.
Mazda λιμουζίνα στο σφυρί 05/10/2017 Πόσα λεφτά χρειάστηκαν για να πουληθεί αυτό το RX-7 σε εκδοχή λιμουζίνας; Εσύ πόσα θα έδινες;
Οι νικητές για τον διαγωνισμό των 3.000 ευρώ! 05/10/2017 Με μεγάλη επιτυχία ολοκληρώθηκε ο μεγάλος διαγωνισμός της Αγοράς Αυτοκινήτου και οι 3 νικητές κληρώθηκαν. Μήπως είστε ένας από αυτούς;
H VW περιορίζει την Skoda 05/10/2017 H επιτυχία της Skoda φαίνεται πως έχει προκαλέσει αντιπαραθέσεις μέσα στο VW Group. Διαβάστε γιατί.
Nέο video από το μονοθέσιο του Stroll 05/10/2017 Ένα νέο video από το μονοθέσιο του Stroll έχει προξενήσει νέες συζητήσεις για το περιστατικό ανάμεσα στον Vettel και τον Stroll. Διαβάστε γιατί και βγάλτε το δικό σας συμπέρασμα.
Τρομερό ατύχημα στο δρόμο, τυχερός ο οδηγός 05/10/2017 Σκηνή από ταινία του Hollywood θυμίζει αυτό το τροχαίο. Ο οδηγός χάνει τον έλεγχο και αφού το αυτοκίνητο απογειώνεται, κάνει μια πιρουέτα στον αέρα σαν αυτή που κάνουν οι αθλητές τ
Cee `d GT στα 0-218 χλμ./ώρα! 05/10/2017 Δείτε το Cee`d GT με τον 1.600άρη κινητήρα του απόδοσης 204 ίππων και 265 Νm ροπής να φτάνει μέχρι και τα 218 χλμ./ώρα από στάση σε κανονικό δρόμο.
Έρχεται στην Ευρώπη το Nissan Leaf 04/10/2017 Η Nissan αποκάλυψε το νέο Leaf στην Ευρώπη, την επόμενη γενιά του αμιγώς ηλεκτροκίνητου οχήματος.
Ε.Ε. & εταιρείες συζητούν για τα ηλεκτρικά 04/10/2017 Η Ευρωπαϊκή Ένωση μέσα στην επόμενη εβδομάδα αναμένεται να φιλοξενήσει στελέχη από αυτοκινητοβιομηχανίες, αλλά και εταιρείες που ασχολούνται με το χώρο της χημείας αλλά και της μηχ
Nέο μοντέλο από την Renault! 04/10/2017 Ένα νέο SUV δίπλα στο Captur φαίνεται πως θα λανσάρει η Renault τα επόμενα χρόνια. Δείτε τι μαθαίνουμε.
Τρία μικρά best-sellers πιο φτηνά και από μίνι 04/10/2017 Βάζουμε στην κόντρα τρία από τα καλύτερα μικρά της αγοράς τα οποία συνδυάζουν τη χαμηλή τιμή με τον πλούσιο εξοπλισμό ήδη από τη βασική έκδοση.
SUV από την Ferrari; 04/10/2017 Πολλές αλλά αλληλοσυγκρουόμενες είναι οι πληροφορίες που έρχονται από το στρατόπεδο της Ferrari σχετικά με την κατασκευή ενός SUV μοντέλου. Διαβάστε τι μαθαίνουμε.
Στο κοινό το Audi R8 LMS GT4 04/10/2017 Μετά το αγωνιστικό μοντέλο της Audi R8 LMS GT3, η εταιρεία προσφέρει πλέον στο αγοραστικό κοινό και το R8 LMS GT4.
Τέλος στις τραγωδίες 04/10/2017 Με το νέο της σύστημα Rear Seat Alert, η Hyundai θέλει να βάλει τέλος στην απροσεξία και την ανευθυνότητα των οδηγών που ξεχνούν το παιδί ή το ζωάκι τους στο πίσω κάθισμα. Δείτε πω
Τα καλύτερα μικρομεσαία SUV μέχρι 20.000 ευρώ 04/10/2017 Συγκρίνουμε κινητήρες, καταναλώσεις, οδική συμπεριφορά και ψηφίζουμε το πιο Value for money μικρομεσαίο SUV με ταβάνι τα 20.000 ευρώ.
Η πατέντα της Ford για τα ελαστικά 04/10/2017 Πάνω σε μια πολύ ενδιαφέρουσα πατέντα εργάζεται η Ford, η οποία όταν και αν εφαρμοστεί αναμένεται να δώσει τη λύση σχετικά με τη σωστή πίεση των ελαστικών.
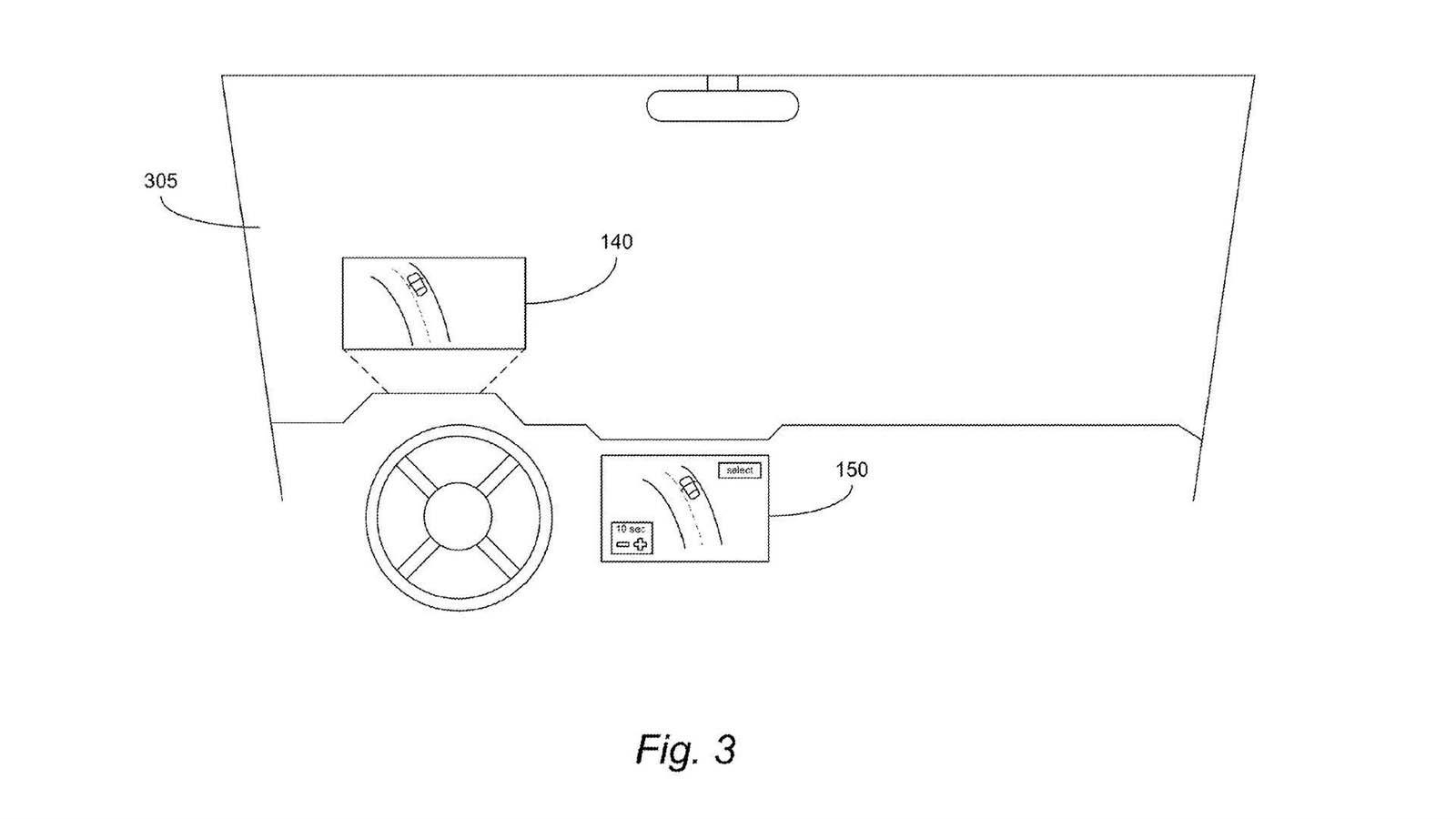
Nέα πατέντα Τοyota 04/10/2017 Ποιός είπε ότι δεν μπορείς να έχει τον έλεγχο των πλήρως αυτόνομων συστημάτων στο αυτοκίνητο; H Toyota στην νέα της πατέντα δεν σε αφήνει «στην τύχη».
Renault Clio V6 στο σφυρί 04/10/2017 Πόσοι γνωρίζετε ότι καιρό πριν, η Renault είχε λανσάρει μια κεντρομήχανη πισωκίνητη widebody έκδοση για το Clio; Ένα τέτοιο βρίσκεται τώρα σε δημοπρασία.