Τα 4 TOP μικρά, μέχρι 12.000 ευρώ 28/12/2018 Αν νομίζετε ότι με 12.000 ευρώ παίρνετε μόνο αυτοκίνητο της mini κατηγορίας κάνετε μεγάλο λάθος. Υπάρχουν μικρά αυτοκίνητα, τα οποία στις βασικές τους εκδόσεις προσφέρουν όσα χρειά
Η Mercedes-AMG GT 4-Door Coupe αποκτά νέο κιτ 28/12/2018 Με νέο αεροδυναμικό πακέτο θα προσφέρεται η Mercedes-AMG GT 4-Door για όσους θέλουν πιο ξεχωριστή και επιθετική εμφάνιση για το τετράθυρο coupe.
Νέο Toyota Prius TRD 27/12/2018 Η Toyota Racing Development βάζει την πινελιά της στο Prius το οποίο αποκτά σπορ εμφάνιση και κάποιες αλλαγές στο λογισμικό του μοντέλου για καλύτερη οδήγηση.
Αποκάλυψη για τα Impreza STI και Forester STI 27/12/2018 Την παρουσίαση δύο νέων πρωτοτύπων αναμένεται να κάνει η Subaru τις προσεχές μέρες, με τα Impreza STI και Forester STI να εμπλουτίσουν την γκάμα STI.
Αγοράστε SUV με «ταβάνι» τα 20.000 ευρώ 27/12/2018 Συγκρίνουμε κινητήρες, καταναλώσεις, οδική συμπεριφορά και ψηφίζουμε το πιο Value for money μικρομεσαίο SUV με ταβάνι τα 20.000 ευρώ.
Hyundai i30N 27/12/2018 Δουλειά-πίστα-δουλειά - Το Hyundai i30N είναι το πρώτο μοντέλο υψηλών επιδόσεων της σειράς Ν και έρχεται με περίσσιο θράσος να τα βάλει σκούρα στον ανταγωνισμό. 275 άλογα, 0-100 σε
Νέο ηλεκτρικό e.Go Life 26/12/2018 Γνωρίστε το μικρό προσιτό ηλεκτρικό όχημα e.Go Life, με μικρότερο μήκος από ένα Fiat 500, που πρόκειται να κυκλοφορήσει to 2019.
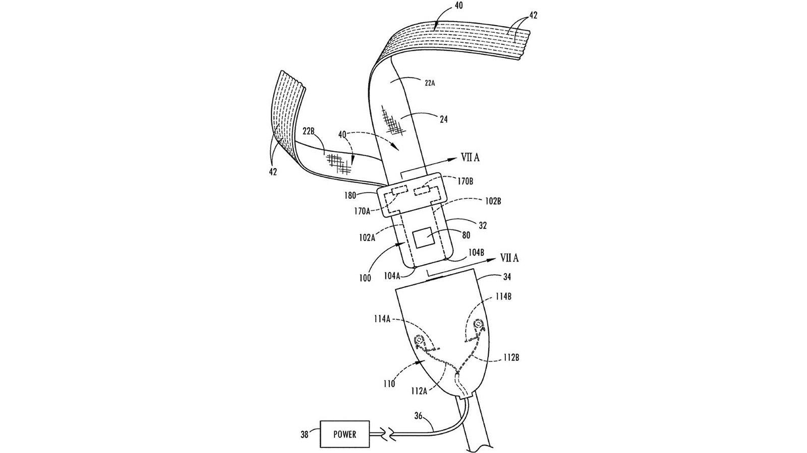
Η μελλοντική ζώνη ασφαλείας σε ζεσταίνει 26/12/2018 Εγκατάσταση θερμαινόμενων ζωνών ασφαλείας εξελίσσει η Ford για τα μελλοντικά της μοντέλα. Πως σας φαίνεται η ιδέα;
3 SUV που ξεχωρίζουν 25/12/2018 Συγκρίνουμε τα Qashqai 1.2 DIG-T 135 PS, Tiguan 1.4 125 PS και C-HR 1.2 116 PS. Ποιο αξίζει περισσότερο τα λεφτά του;
Νέα τεχνολογία από την KIA διαβάζει τα συναισθήματα 24/12/2018 Η ΚΙΑ θα παρουσιάσει σύντομα μια νέα τεχνολογία που θα μπορεί να αναγνωρίσει τα συναισθήματα των επιβατών.
Κινητή τηλεόραση το εσωτερικό του Ι.Χ σου! 24/12/2018 Η Hyundai Mobis παρουσιάζει την τεχνολογία του αύριο που μαγνητίζει και ενθουσιάζει.
Nέο ηλεκτρικό crossover από την AUDI για το 2020 24/12/2018 Νέο μικρότερο ηλεκτρικό crossover/SUV από το E-Tron πρόκειται να παρουσιάσει σύντομα η AUDI.
Ολυμπία Οδός: Ασφάλεια στη μετακίνηση σας 24/12/2018 Η Ολυμπία οδός υπενθυμίζει κάποιους κανόνες ασφαλείας για την ασφαλέστερη σας μετακίνηση και διευκόλυνση.
3 πύραυλοι στα 1000 κ.εκ 21/12/2018 Αν νομίζετε ότι για να βρείτε καλές επιδόσεις πρέπει να πάτε στην κατηγορία GTi κάνετε μεγάλο λάθος. Τα τουρμπάτα μικρά με τους χιλιάριδες κινητήρες είναι σε θέση να καλύψουν τις α
Το VW T-Cross χωρίς μελλοντικό υβριδικό σύνολο 21/12/2018 Το Volkswagen T-Cross δεν θα αποκτήσει τελικά κάποια υβριδική έκδοση όπως επιβεβαιώθηκε.
Η Τροχαία ανακοίνωσε μέτρα για την ασφάλεια σας 21/12/2018 Ενόψει της εορταστικής περιόδου των Χριστουγέννων, η Τροχαία θα εφαρμόσει ένα σχέδιο μέτρων οδικής ασφάλειας σε όλη την χώρα.
Τα μικρά με την μικρότερη κατανάλωση 20/12/2018 Σας παρουσιάζουμε την πιο οικονομική 4άδα της μικρής κατηγορίας. Με καταναλώσεις στα 4 λτ./100χλμ., πλούσιο εξοπλισμό και πάτημα μεγαλύτερης κατηγορίας, το μόνο που μένει, είναι να
H γενέτειρα της Opel θα γίνει «Ηλεκτρική Πόλη» 20/12/2018 Επεκείνεται το δίκτυο υποδομής φόρτισης στη γενέτειρα της Opel.